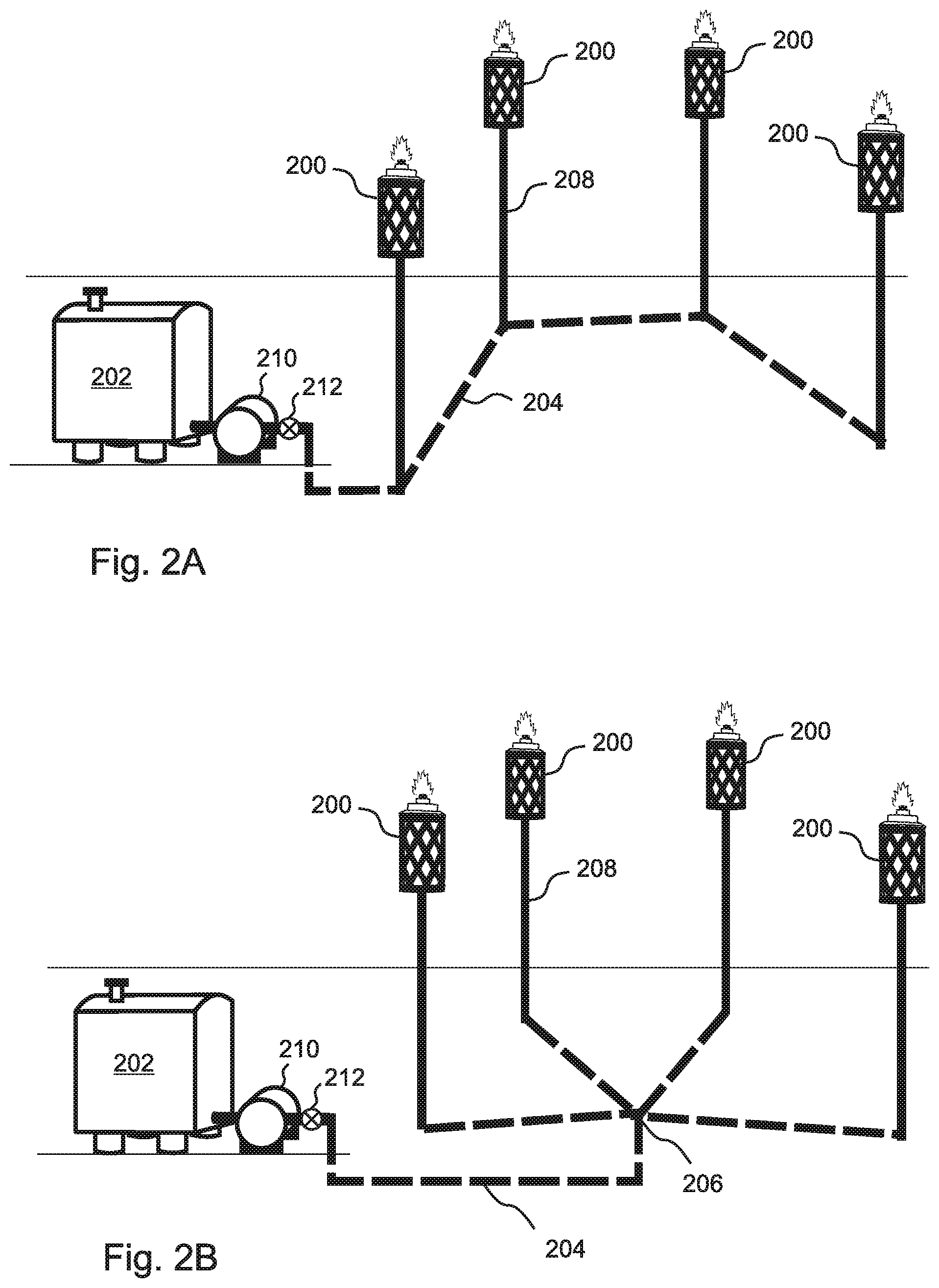
It is essential that the design and prototype remains consistent with the current US patent on file (10842146 B1) at the very least, but new intellectual property has the potential to elevate the design to fit the needs of the stakeholders. Schematics from the current patent on file are shown below. Specific materials for torch heads must be used to maintain grant funding.
- Meeting with the customer in order to better identify the given requests
- Determining what engineering requirements (ERs) cover the customer requests (CRs)
- Deciding on roles within the team
- Brainstorming our largest design roadblocks
- Creating a phase slideshow to review accomplishments
In this phase, the team accomplished:
- Holding a meeting with the customer to solidify the importance of each CR
- Devising multiple ERs that apply to each CR
- Benchmarked certain processes pertaining to fluid control and management
- Generating multiple use cases for the BugTorch system
- Population of the Problem Definition page on Confluence
| Use Case #1: Building Prototype for the Customer |
|---|
Use Case #1 illustrates the process of building a prototype for the primary customer, Joe Pannullo. As shown in the diagram to the right, there are three major actors: the MSD team, Joe, and the manufacturer(s) who supplies parts. First the MSD will act independently to design a solution which will require prototyping. The MSD team will then have to order parts for the prototype through the manufacturer and confirm their arrival before proceeding to construct. If all of the parts arrive in proper condition, then the team can start constructing. In the event all of the parts ordered did not arrive or arrived in a bad condition, the team would need to inform the manufacture to correct their order. This poses a risk that would delay the MSD team's schedule. Therefore, the MSD team should do their best to order parts as far in advance as possible to account for these potential delays. After the torch system construction is completed, the team will test the system to make sure it meets the requirements set forth by the customer and engineering requirements specified later in the Problem Definition section. Redesigning is something the design team should expect to further improve their design and may take multiple iterations before being satisfied with the prototypes functionality. Once the team is satisfied with the system, they will present the prototype to Joe and consider any feedback he may have for future redesign and testing. After Joe is satisfied with the results from the teams prototype, he should consider filing IP as appropriate which will conclude the MSD BugTorch project. |
| Use Case #2: Self Installation with 10 Torch System |
|---|
Use Case #2 explains the self installation process of a BugTorch system that includes 10 torches. First the residential customer must order the system from the BugTorch manufacturer and follow up with purchasing any parts that is necessary for system set up but may not be included. Items that may not be included in the manufacturer’s shipment might be soil to modify the backyard, rocks/sand to fill the tiki torch bases, etc. Following the order and part arrival to the customer’s residence, they must follow the instructions to install, calibrate, and test the system. Calibrating will be essential to ensure the BugTorch system functions properly when refueling automatically. If there are issues in the BugTorch system’s functionality, a customer support team should be available in order assist customers with properly installing their devices. Customers may choose to return the system if they become too frustrated installing the system without any available assistance leading to profit loss. Once all troubleshooting has concluded, the residential customers can enjoy their time spent outside free of bugs with the BugTorch system. |
| Use Case #3: Backyard Installation for Party with 3rd Party Installer |
|---|
|
- All design documents
- Working prototype
The team is expected to complete all task above along with:
- Technical Paper
- Poster
Some other deliverables, if needed:
- Lightning talk video
- Installation instructions and video
- Customer research and documentation
- IP considerations by mutual agreement and legal review, to include invention disclosure
Relevant Files
Based upon the teams preliminary analysis these areas were bench-marked.
Relevant Files
As for other considerations this project can be mapped to several positive applications. Taking a look at the economic impact the system may have requires examining the total price of the system and the overall ability to manufacture it. The constraint here comes from a customer requirement of maintaining a total cost per torch of twenty-five dollars or less. This price would make the system readily available to multiple social classes. Another perspective to examine is the environmental impact. This system will use citronella oil which by EPA standards is considered non-harmful to residential environments. As for sustainability the system will likely be made from long lasting materials and be powered by solar energy making this a long lasting addition to outdoor entertainment. One goal is to achieve some form of engineering standard that can be recognized by an organization like IEEE.
Relevant Files
The team focused on mapping each of the CRs to at least one ER in order to qualitatively or quantitatively shown the CRs have been achieved. Some ERs were directly inspired from the customer interview and connect to multiple customer requirements as shown by the X's in the table. The quantity of X's do not reflect the importance of a CR or ER but rather the connection between the elements. The team tried to considered different perspectives and requirements for each subsystems to accurately assess the CRs further down the line.
At this stage of the project, there have not yet been any major trade offs. The few trade-offs that occurred stemmed from the language used in ERs. The design team wanted to be specific in describing the ERs while not being too specific. Potential ER conflicts and failures modes discovered during the development of the House of Quality table are listed below.
Possible Conflicts
- Power Vs. Wireless.
- This is a dilemma caused by the customer requirement of remaining wireless. It will be difficult to power any device situated in the torch without a wire. One solution is a solar panel and battery but this would involve changing the torch aesthetic creating another conflict.
- No External Modification Vs. Fitting Sensors in Torches.
- The torch body is very small. Therefore, fixing a sensor inside the torch alongside the other internal components may be nearly impossible.
- Metal Torch Body Vs. Bluetooth/Z-wave.
- The metal body of the torch has the potential to act like a Faraday cage and could severely limit wireless communications. An antennae could solve this issue but may be costly and difficult to hide.
Relevant Files
- Compilation of functional decomposition flowcharts.
- Structuring a comprehensive morphological chart.
- Picking two feasible system designs from the morph chart and bench-marking them accordingly.
- developing a test plan to accommodate the various engineering requirements of the project.
- uploading and updating the information needed to pass the next phase on confluence.
Relevant Files
The team has organized a set of individual three week plans and a detailed Gantt chart linked here:














